- Насосы
Насосы вертикальные многоступенчатые из нержавеющей стали
Насосы горизонтальные многоступенчатые из нержавеющей стали
Насосы центробежные из нержавеющей стали
Насосы центробежные из нержавеющей стали с рабочим колесом открытого типа
Насосы вертикальные циркуляционные с линейным расположением патрубков
Насосы циркуляционные (мокрый ротор)
Насосы центробежные моноблочные
Насосы погружные для сточных вод
Дренажные насосы
Дренажные насосы (шламовые, водоотливные)
Погружные насосы (скважинные, для колодцев)
Канализационные насосы
Вихревые насосы
Центробежные насосы
Насосные станции
Насосы для подкачки
- Специализированные насосы
- Компрессоры и воздуходувки
- Электродвигатели
- Генераторы
- Аксессуары и комплектующие
Полупогружной вертикальный многоступенчатый CNP CDLK2-120/12 (стандартное исполнение)

Характеристики насосов:

Используемые материалы:
| № | Части | Материал | AISI/ASTM |
|---|---|---|---|
| 1 | Электродвигатель | ||
| 2 | Муфта | Сталь углеродистая | |
| 3 | Головная часть насоса | Чугун | AISI304 |
| 4 | Кожух муфты | Сталь нержавеющая | AISI304 |
| 5 | Торцевое уплотнение | ||
| 6 | Стяжки | Сталь нержавеющая | AISI304 |
| 7 | Вал | Сталь нержавеющая | AISI316 |
| 8 | Секция | Сталь нержавеющая | AISI304 |
| 9 | Всасывающая головка | Сталь нержавеющая | AISI304 |
| 10 | Рабочее колесо | Сталь нержавеющая | AISI304 |
| 11 | Диффузор | Сталь нержавеющая | AISI304 |
| 12 | Втулка рабочего колеса | Сталь нержавеющая | AISI304 |
| 13 | Подшипник | Сталь нержавеющая | |
| 14 | Диффузор вспомогательный | Сталь нержавеющая | AISI304 |
| 15 | Сетчатый фильтр | Сталь нержавеющая | AISI304 |
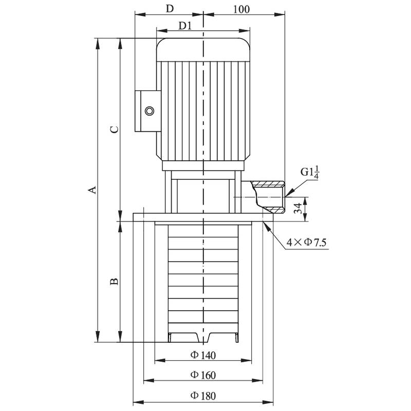
Габаритно-присоединительные размеры:

CDLK/CDLKF — многоступенчатые центробежные насосы, оснащенные стандартным двигателем. Вал двигателя напрямую соединен с валом насоса через муфту. При необходимости, насос может быть оснащен защитным устройством, которое эффективно защищает насос от сухого хода, отсутствия фазы, перегрузки и т.д. Чтобы выполнить требование по глубине установки в ёмкости с водой, можно установить полую ступень (без р абочего колеса) для изменения длины насоса.
Область применения:
Агрегаты электронасосные CDLK и CDLKF предназначены для перекачивания в стационарных условиях охлаждающих жидкостей, жидкой смазки, водо-конденсата станков, воды и растворов в промышленном, моечно-очистительном оборудовании. Рабочая жидкость должна быть негорючей, неагрессивной к материалу проточной части (чугуну и/или нержавеющей стали) и не содержать абразивных твердых и/или волокнистых примесей. Данные насосы также используются, когда требуется применение полупогружного электронасосного агрегата в широком диапазоне значений температуры, подачи и давления.
Главным образом электронасосы CDLK и CDLKF используются для подачи жидкостей в электроэрозионных, токарных, шлифовальных и т .п. станков, а также при водоподготовке.
Условия эксплуатации:
Чистые, маловязкие, неагрессивные и взрывобезопасные жидкости без твердых, абразивных или длинноволокнистых включений. Перекачиваемая жидкость не должна механически или химически воздействовать на материал насоса.
Температура перекачиваемой жидкости:
- Стандартное исполнение: от -15 °С до +70 °С
- Высокотемпературное: от -15 °С до +120 °С
Расшифровка обозначений:

Требования к установке насоса:
Минимальный уровень жидкости в резервуаре для представлен на рисунке ниже:

Остались вопросы по "Полупогружной вертикальный многоступенчатый CNP CDLK2-120/12 (стандартное исполнение)"? Звоните нам
Насосы с бензиновым и дизельным двигателем
Газовые насосы
Диафрагменные насосы
Насосы для фонтанов, бассейнов
Насосы прогрессивные полостные (шнековые)
Насосы для перекачки химических жидкостей
Плунжерные насосы
Топливные насосы
Трюмные насосы
Компрессоры автомобильные, инверторы
Компрессоры воздушные
Воздуходувки распыляющие
Воздуходувки электрические
ЭМ
АИР
Vodotok БГИЗ
Vodotok БГИО
Автоматические трубные муфты
Выключатели поплавковые
Частотные преобразователи
Регуляторы механические
Регуляторы электронные

