Горизонтальные насосы Vodotok серии EMHm-SE
Область применения:
Данные насосы предназначены для перекачивания пресной чистой воды и других жидкостей с аналогичными физическими и химическими свойствами. Они используются в системах: полива садов, огородов, теплиц, трубопроводов различных типов, подачи жидкости в здания и предприятия, центрального кондиционирования, увеличения давления жидкости в трубопроводах, обеспечения водой оборудования, а также в рыбных и птицеводческих хозяйствах, на промышленных, горнодобывающих предприятиях и т. д.
Внимание! Насосы являются самовсасывающими и не требуют предварительного заполнения насосной камеры водой, за исключением первого пуска.
Внимание! Эти насосы не предназначены для питьевого водоснабжения, перекачивания соленой воды, агрессивных, абразивных, легковоспламеняющихся и взрывоопасных жидкостей!
Особенности:
- В насосной камере последовательно установлено несколько крыльчаток, что значительно увеличивает производительность и высоту подъема
- Все части, контактирующие с водой, имеют антикоррозийное покрытие или изготовлены из неподдающихся коррозии материалов
- Использованы высококачественные подшипники японской корпорации NSK, имеющие следующие характеристики: высокоточные с пониженным показателем вибрации, термостойкие и износостойкие, бесшумные со сверхдолгим сроком службы
- Сердечники статора и ротора изготовлены из холоднокатаной стали, что значительно улучшает их характеристики
- Насосная камера, вал и крыльчатки изготовлены из высококачественной нержавеющей стали марки AISI 304
- Медная обмотка статора имеет повышенные индукционные характеристики
- Встроенная в обмотку статора термозащита, предотвращающая перегрев мотора
- Передняя крышка насосной камеры у серии EMHm-Н изготовлена из высококачественной нержавеющей стали марки AISI 304
Комплектация:
- Насос в сборе – 1 шт.
- Присоединительный штуцер – 2 шт.
- Обратный клапан – 1 шт.
- Руководство по эксплуатации – 1 шт.
- Упаковка – 1 шт.
Расшифровка обозначений:
Обобщенная схема устройства насосов:
| № | Наименование | № | Наименование |
|---|---|---|---|
| 1 | Пробка заливного отверстия | 16 | Подшипник |
| 2 | Шайба | 17 | Ножка |
| 3 | Самовсасывающий клапан | 18 | Статор |
| 4 | Гайка | 19 | Ротор |
| 5 | Крыльчатка | 20 | Суппорт |
| 6 | Диффузор 1 | 21 | О-образное уплотнительное кольцо |
| 7 | Диффузор 2 | 22 | Торцевое уплотнение (сальник) |
| 8 | Винт | 23 | Насосная камера |
| 9 | Зажим кабеля | 24 | Передняя крышка насосной камеры |
| 10 | Гайка конденсаторной коробки | 25 | Пробка сливного отверстия |
| 11 | Защитная крышка крыльчатки охлаждения | 26 | Крышка конденсаторной коробки |
| 12 | Крыльчатка охлаждения | 27 | Пусковой конденсатор |
| 13 | Задняя крышка мотора (упорная пластина) | 28 | Клеммная панель |
| 14 | Стяжной болт | 29 | Конденсаторная коробка |
| 15 | Волнистая шайба |
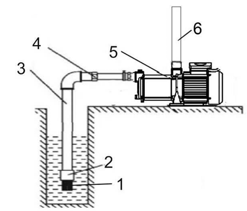
Примеры установки насоса:

Насосы вертикальные многоступенчатые из нержавеющей стали
Насосы горизонтальные многоступенчатые из нержавеющей стали
Насосы центробежные из нержавеющей стали
Насосы центробежные из нержавеющей стали с рабочим колесом открытого типа
Насосы вертикальные циркуляционные с линейным расположением патрубков
Насосы циркуляционные (мокрый ротор)
Насосы центробежные моноблочные
Насосы погружные для сточных вод
Дренажные насосы
Дренажные насосы (шламовые, водоотливные)
Погружные насосы (скважинные, для колодцев)
Канализационные насосы
Вихревые насосы
Центробежные насосы
Насосные станции
Насосы для подкачки
Насосы с бензиновым и дизельным двигателем
Газовые насосы
Диафрагменные насосы
Насосы для фонтанов, бассейнов
Насосы прогрессивные полостные (шнековые)
Насосы для перекачки химических жидкостей
Плунжерные насосы
Топливные насосы
Трюмные насосы
Компрессоры автомобильные, инверторы
Компрессоры воздушные
Воздуходувки распыляющие
Воздуходувки электрические
ЭМ
АИР
Vodotok БГИЗ
Vodotok БГИО
Автоматические трубные муфты
Выключатели поплавковые
Частотные преобразователи
Регуляторы механические
Регуляторы электронные