- Насосы
Насосы вертикальные многоступенчатые из нержавеющей стали
Насосы горизонтальные многоступенчатые из нержавеющей стали
Насосы центробежные из нержавеющей стали
Насосы центробежные из нержавеющей стали с рабочим колесом открытого типа
Насосы вертикальные циркуляционные с линейным расположением патрубков
Насосы циркуляционные (мокрый ротор)
Насосы центробежные моноблочные
Насосы погружные для сточных вод
Дренажные насосы
Дренажные насосы (шламовые, водоотливные)
Погружные насосы (скважинные, для колодцев)
Канализационные насосы
Вихревые насосы
Центробежные насосы
Насосные станции
Насосы для подкачки
- Специализированные насосы
- Компрессоры и воздуходувки
- Электродвигатели
- Аксессуары и комплектующие
Насос инверторный Vodotok НПМЧ-1м3/ч-22м-400Вт-С

Характеристики насосов:

Установочные размеры:

Область применения:
Данный насос предназначен для перекачивания пресной чистой воды и других жидкостей с аналогичными физическими и химическими свойствами. Он используется для водоснабжения, полива, автоматизации подачи и увеличения давления жидкости в квартирах, домах, дачах, зданиях, промышленных объектах, животноводческих и птицеводческих хозяйствах, для вспомогательного оборудования и т. д.
Внимание! Этот насос не предназначен для перекачивания соленой воды, агрессивных, абразивных, легковоспламеняющихся и взрывоопасных жидкостей!
Комплектация:
- Насос в сборе - 1 шт.;
- Обратный клапан – 1 шт.;
- Присоединительный штуцер – 1 шт.;
- Руководство по эксплуатации - 1 шт.;
- Упаковка - 1 шт.
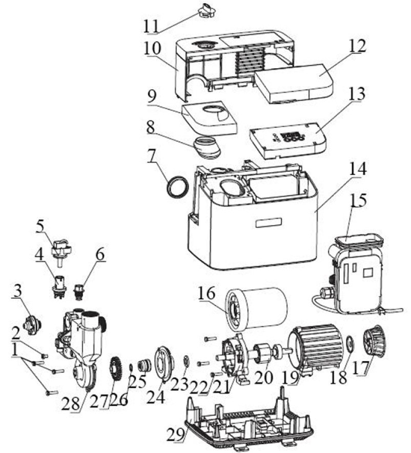
Расшифровка обозначений:

Обобщенная схема устройства насосов:

| № | Наименование | № | Наименование |
|---|---|---|---|
| 1 | Винты | 16 | Расширительный бак |
| 2 | Пробка сливного отверстия | 17 | Крыльчатка охлаждения |
| 3 | Датчик давления | 18 | Заднее уплотнительное кольцо |
| 4 | Обратный клапан | 19 | Статор |
| 5 | Датчик протока жидкости | 20 | Ротор |
| 6 | Пробка заливного отверстия | 21 | Суппорт |
| 7 | Входная резиновая манжета | 22 | Винт |
| 8 | Выходная резиновая манжета | 23 | Переднее уплотнительное кольцо |
| 9 | Верхняя часть защитного корпуса | 24 | Передняя крышка мотора |
| 10 | Задняя часть защитного корпуса | 25 | Торцевое уплотнение (сальник) |
| 11 | Крышка для наполнения насосной камеры | 26 | Стопорное кольцо |
| 12 | Защелкивающаяся крышка | 27 | Крыльчатка |
| 13 | Панель дисплея | 28 | Насосная камера |
| 14 | Защитный кожух | 29 | Основание |
| 15 | Блок управления (инвертор) |
Остались вопросы по "Насос инверторный Vodotok НПМЧ-1м3/ч-22м-400Вт-С"? Звоните нам
Насосы с бензиновым и дизельным двигателем
Газовые насосы
Диафрагменные насосы
Насосы для фонтанов, бассейнов
Насосы прогрессивные полостные (шнековые)
Насосы для перекачки химических жидкостей
Плунжерные насосы
Топливные насосы
Трюмные насосы
Компрессоры автомобильные, инверторы
Компрессоры воздушные
Воздуходувки распыляющие
Воздуходувки электрические
ЭМ
Автоматические трубные муфты
Выключатели поплавковые
Частотные преобразователи
Регуляторы механические
Регуляторы электронные

