- Насосы
Насосы вертикальные многоступенчатые из нержавеющей стали
Насосы горизонтальные многоступенчатые из нержавеющей стали
Насосы центробежные из нержавеющей стали
Насосы центробежные из нержавеющей стали с рабочим колесом открытого типа
Насосы вертикальные циркуляционные с линейным расположением патрубков
Насосы циркуляционные (мокрый ротор)
Насосы центробежные моноблочные
Насосы погружные для сточных вод
Дренажные насосы
Дренажные насосы (шламовые, водоотливные)
Погружные насосы (скважинные, для колодцев)
Канализационные насосы
Вихревые насосы
Центробежные насосы
Насосные станции
Насосы для подкачки
- Специализированные насосы
- Компрессоры и воздуходувки
- Электродвигатели
- Генераторы
- Аксессуары и комплектующие
Насос канализационный погружной CNP 50WQX10-8-0.75AC(I) (c АТМ)

Характеристики насосов:
/WQX_50_Q.png)
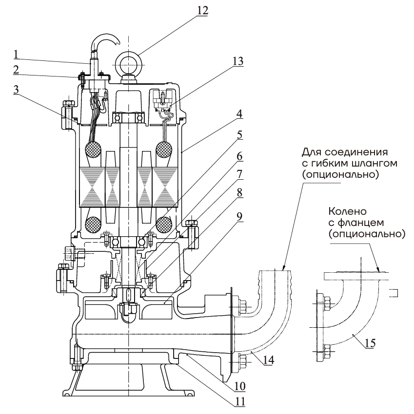
Схема устройства:
| № | Наименование | Материал | № | Наименование | Материал |
|---|---|---|---|---|---|
| 1 | Кабель | Резина YZW | 9 | Рабочее колесо | HT200 |
| 2 | Кабельный ввод | 10 | Корпус | HT200 | |
| 3 | Пластина | 11 | Крышка всасывания | HT200 | |
| 4 | Корпус ЭД | HT200 | 12 | Рым-болт | |
| 5 | Подшипник | 13 | Тепловая защита | ||
| 6 | Торцевое уплотнение | Карбид кремния/ карбид вольфрама | 14 | Соединение с гибким шлангом | HT200 |
| 7 | Маслоподъемник | 15 | Колено с фланцем | HT200 | |
| 8 | Манжетное уплотнение | Нитрильный каучук |
Стационарная установка автоматической соединительной муфты:

Размеры соединительной муфты:

Насосы CNP cерии WQ в исполнении WQX(I) имеют вихревое рабочее колесо Vortex.
Особенности:
-
Кабель выполнен в резиновой оболочке, химически стойкой к сточным водам. Уплотнительная втулка на кабеле, в месте ввода в крышку двигателя, выполнена методом резиновой вулканизации, что предотвращает попадание жидкости в полость двигателя даже при повреждении крышки.
-
Специально разработанный погружной электродвигатель, с хорошей эффективностью охлаждения, степенью защиты IPX8, классом изоляции F, предназначенный для длительного срока эксплуатации. Охлаждение двигателя осуществляется перекачиваемой жидкостью через оболочку двигателя. Двигатель работает без перегрева, до тех пор пока жидкость не закроет половину оболочки.
-
Масляно-водяной датчик, установленный в камере с маслом, предупреждает о попадании жидкости в масло и передает соответствующий сигнал на панель управления. Это говорит о том, что торцовое уплотнение со стороны насосной части неисправно. При попадании воды в масляную камеру, датчик передает аварийный сигнал на панель управления и останавливает насос. В стандартной комплектации масляно-водяной датчик в масляной камере устанавливается в насосы с мощностью электродвигателя от 11кВт включительно. Для насосов с мощностью электродвигателя до 7,5кВт включительно установка датчика возможна опционально. В моделях насосов с электродвигателями мощностью 11кВт и выше устанавливаются термо-реле в обмотках статора которые необходимо подключить в щит управления. При увеличении температуры обмоток выше нормы, из-за работы двигателя с перегрузкой, недостаточным охлаждением и т.д., термореле передает аварийный сигнал на щит управления и останавливает насос. В моделях насосов с электродвигателями мощностью до 7,5кВт включительно имеется встроенный термо-выключатель разрывающий схему "звезда" без отправки аварийного сигнала на панель управления.
-
Конструкция вентиляционного клапана дает возможность автоматически высасывать отработанный воздух при откачки воды (это технология запатентована компанией Tsurumi Pump)
-
Рабочее колесо становится полуоткрытым и принимает двухканальный вид, обладает свойством работы без засорений, перекачивает жидкость с наибольшей пола чей и высокой эффективность. Позволяет получить постоянные рабочие характеристики, при отсутствии перегрузок и вибраций.
Применение:
- В жилищно-коммунальном строительстве, сельском хозяйстве, промышленном строительстве, горной промышленности
- Отвод канализационных стоков, промышленных стоков, дренаж затопленных котлованов и болотистой местности и т.д.
- Перекачиваемая жидкость: дождевая вода, сточная вода с твердыми и волокнистыми частицами
Условия эксплуатации
- Источник питания: 50 Гц, 3х380В
- Температура перекачиваемой жидкости должна быть не выше 40°С, водородным показателем (pH) от 4 до 10, плотностью не более 1200 кг/м3, массовой долей твердых механических примесей не более 2%
- Минимальный уровень откачиваемой жидкости должен быть на уровне половины корпуса двигателя
- Насос не предназначен для перекачки агрессивной жидкости или жидкости с большим содержанием твердых и волокнистых частиц.
- Максимальный диаметр прохода твердых частиц не должен превышать указанного в технических характеристиках
Остались вопросы по "Насос канализационный погружной CNP 50WQX10-8-0.75AC(I) (c АТМ)"? Звоните нам
Насосы с бензиновым и дизельным двигателем
Газовые насосы
Диафрагменные насосы
Насосы для фонтанов, бассейнов
Насосы прогрессивные полостные (шнековые)
Насосы для перекачки химических жидкостей
Плунжерные насосы
Топливные насосы
Трюмные насосы
Компрессоры автомобильные, инверторы
Компрессоры воздушные
Воздуходувки распыляющие
Воздуходувки электрические
ЭМ
АИР
Vodotok БГИЗ
Vodotok БГИО
Автоматические трубные муфты
Выключатели поплавковые
Частотные преобразователи
Регуляторы механические
Регуляторы электронные

